The content is published under Creative Commons Attribution 4.0 International license.
Reviewed Article:
Approaches to the Documentation of Houses in Open-Air Museums
The seminar was divided into two parts. One group professionally documented the long-term experiment “House 1” in the Museums Village Düppel for the first time. The house was built in the 1970s and left to decay in 1990. The area was freed from vegetation and photographed at regular intervals. The second group reflected on the continuous documentation of reconstructed houses in archaeological open-air museums with the aim of developing a proposal for binding documentation guidelines as well as practicable documentation forms. This contribution is intended as a thought-provoking catalyst.
Introduction
Houses in open-air museums (re-)constructed according to archaeological findings represent an attempt by researchers and by committed citizens (citizen science) to make the past tangible and experienceable, usually with the help of various didactic concepts for museums. The houses are neither mere backdrops nor mere stages of a historical theatre in open-air museums (cf. Schmidt, 2000, p.63; Hochbruck, 2013), but rather, in the sense of experimental archaeology, research objects themselves, on which research questions can be tested and developed (Fansa, 1990, pp.22–78; Schmidt, 2000, pp.68–80).
In cooperation with the Düppel Museum Village, a course entitled 'Ruin Archaeology' (lecturer E. Lehnhardt) was held at the Freie Universität Berlin in the field of prehistoric archaeology during the summer term 2019.
Two complementary topics were dealt with: 1) the archaeological documentation of a house that was deliberately left open and has been decaying for 30 years and 2) the theoretical examination of the continuous documentation of reconstructed houses in open-air museums. To be able to deal with these two topics, the seminar was divided in two groups. The archaeological record of the decayed house and initial considerations for a possible documentation guideline, which have already been published in German in the Düppel Journal (Lehnhardt et al., 2020), are presented in the following in a slightly modified version.
The Decayed House and its Documentation
The documentation of about 20 buildings and object groups in Düppel was carried out by Dieter Todtenhaupt until 2015 and recorded in his 'History of the individual reconstructed houses in the Museum Village Düppel'. Such documentation follows a basic scheme. First, the historical background is illuminated, the year of completion and the builder. Financial aspects, such as sponsors or donors, and the materials and finances made available are also mentioned. If there were archaeological features that served as an example for the construction of the buildings, these are described in detail as well. The main section begins with a detailed, depending on the level of knowledge available, chronologically structured list of the damages and its countermeasures. At this point, valuable impressions are often referred to through photography and/or detailed drawings. The most frequent damage to the houses in Düppel seems to be the posts and the roof. In some cases, the decay of individual areas in the building timber are described in detail as well as the corresponding countermeasures. Often, an explanation of the respective basic repair measures is sufficient. In case of more complicated or deviating measures or special communication with offices/tradesmen/employees, this is also recorded. Sometimes, measures are taken to protect it from further damage, or there is already an indication of imminent damage.
The decayed house is house no. 1, which was built in 1971 as the first one on the museum grounds, but outside the original medieval settlement area. It does not follow any archaeological features and was only built for the purpose of learning building techniques. The house was erected by a group of Danish scouts (See Figure 1), which is why it is also listed as the 'Viking house' in the Düppel-History by D. Todtenhaupt (2015). The construction method and the building material can be described as follows: Parallel post-construction with posts made of birch trunks, into which purlins are mortised; the rafters rest on the two purlins. The construction is supported in the roof truss and in the lower area by cross battens, at which oak split planks in tongue and groove joint form the walls. The roof was covered with reed (See Figure 2). A floor was not laid.
From 1984 onwards the house was no longer used and was therefore exposed to decay (See Figure 3). In 1990, it was decided to let the building, which was dilapidated especially in the roof area, fall into complete disrepair. For this, the rear split-blank wall and the door were removed. The further decay was to be continuously documented and finally, an archaeological excavation was to be carried out. The results and a reconstruction based on them were then to be compared with the original building plan.
It should be noted here that the museum grove was also laid out in the 1970s. In the course of time, the trees around the house grew upwards. This situation cannot be assumed for medieval and prehistoric houses, as they were mostly built on open spaces. The site was apparently cleared of leaves every spring and the natural vegetation was removed, as the decay of the house should be visible.
The Düppel-History of D. Todtenhaupt (2015) reveals that the entire roof truss disappeared in 2000 and the type of roof covering was no longer recognizable. In the course of the following years, more and more split planks tipped over, and "after a long rainy season, before the first frost [in the] winter of 2011/2012, the rear left roof post broke off near the ground" (Todtenhaupt, 2015, p.5).
Most of the various types of construction timber have not yet decomposed, so our work only documents the current state of decay. In contrast to an artificially created planum, in which, for example, Bronze Age wood, if at all, is usually only traceable as discoloration, the former standing area of the house and the immediate surroundings have not been levelled and the various timbers are in many cases diagonally offset and overlap each other. This results in different heights, which in combination with the uneven ground made documentation difficult. Distances between different timbers cannot simply be picked up horizontally from the ground. The documentation plan in Figure 6 is therefore also only a simplified and idealized representation, in which the different heights were not considered. The current state of the ruin can be described as follows:
The rafters are no longer detectable respectively cannot be addressed as such properly if the wood is lying on the ground and already heavily decayed, because these could also be fragments of split planks. One of the four posts is still standing (See Figure 6). From this, the purlin, which is still joined in mortise and tenon, hangs down to the ground (See Figures 4 and 5). The posts are much better preserved than the two purlins. The purlin in the rear area of the former house, which is still loosely in the tenon joint, is in parts, already very badly decomposed. The split planks of the former wall in the front area of the house are clearly identifiable. They lie mostly parallel next to each other or partly on top of each other. Some are still quite well-preserved and the holes, which served for the former fastening, are clearly recognizable. As the holes are located at the upper parts of the split planks, it is also possible to reconstruct the different (not regular) directions of the lintel, determined by the respective degree of decay. It can be seen, for example, that some planks lie more or less parallel to the former wall along the edge of the eaves, while others were shifted towards the house area.
The rectangular fireplace is still clearly recognizable as such, although smaller stones have already been shifted and some pieces have splintered off from the larger stones, probably due to frost wedging. There is some moss growth on the stones.
An iron link chain and two iron nails lie loose within the former house. It is no longer possible to clearly determine from the archaeological findings in which earlier structural or other (functional) context these objects belong.
In the end, the non-organic materials, such as the stones of the fireplace and the small iron objects, will probably remain from the house. The fireplace would presumably also be addressed as such from a prehistoric finding, while the exact function of the small iron objects can already only be speculated about. The different intensity of the decomposition processes on the different timbers can be clearly seen; some oak split planks are much better preserved than the posts and purlins made of birch wood. This is probably also because oak has natural resistances, which has a positive effect on its durability. Its own sap keeps vermin away and its unusual hardness and elasticity determine the high quality of its heartwood, as shown here by its resistance to decay. It is questionable whether the lack of natural (organic) cover will cause wood structures to show up in the form of discoloration or the post holes in the existing soil. In the future, the removal of leaves and of natural growth should be avoided. This is an artificial intervention in the natural soil formation processes and the processes of decay and decomposition, which are determined by the directly prevailing environmental conditions in combination with the microclimate of the woodland.
Considerations for the Documentation of Reconstructions in Open-air Museums
The houses in open-air museums generally serve the purpose of imparting knowledge or illustrating life in historical and prehistoric epochs to a broad public. For this, as in Düppel by working groups, many houses are used at different time intervals by people who carry out and demonstrate various works and crafts (textile production, pottery, etc.) in them and design the interior. This form of living history (cf. Carstens, Meiners and Mohrmann, 2008) plays a major role in the condition of the houses. On the one hand, there is a lot of wear and tear, but on the other hand, heating, for example, contributes to the preservation of the building fabric. The respective building condition therefore results from an interaction between the building material used, the construction, the environmental conditions, including climate and weather, and the human activities in and around the house. The student 'concept group' set itself the goal of developing a documentation sheet or a checklist with which the buildings could be recorded in an initial survey and subsequent annual documentation. With the help of the information gained from this documentation, the decay processes and periods of the organic architectural elements should be made comprehensible and the condition of the building should be recorded at a glance. The checklist should be self-explanatory and easy to use so that it can be filled in easily by the respective caretakers of the buildings. This is intended to achieve comparability not only between houses in one museum but also between similarly constructed houses in different museums.
The Düppel-History already contains some important information, which were also included as criteria in our checklist. Furthermore, we oriented ourselves on an already existing documentation sheet by J. P. Flamman (2000), adopted some of the elements and were inspired for the layout of our checklist. It soon became clear, however, that it would be a great challenge to create a compact checklist that contained all the relevant criteria and at the same time would not require too much effort. Therefore, we also discussed the applicability of the collected ideas for documentation.
Projects that can be deduced from the literature show that the aim of experimental archaeology is not necessarily the long-term and systematic documentation of the houses, but rather the concrete construction on the basis of an archaeological (or historical) feature. Literature research was therefore of limited help in the preparation of a guide to the documentation of houses in open-air museums. Although it does reveal the approaches and focal points of building projects, it rarely reveals exactly how they were carried out or what actually happens to the buildings afterwards. Overall, there is also a lack of a compilation of the usual brief descriptions of the construction, the problems associated with it and later repairs. Moreover, the preservation of historical monuments is mainly concerned with the preservation of historical monuments and not with reproductions (Sennhauser 1990). It is also astonishing that international conventions on the measures of restoration and reconstruction apparently do not provide any information on exact documentation or records (cf. Schmidt, 1993, pp. 339-349).
A positive example is the book ‘Urgeschichtlicher Hausbau in Mitteleuropa’ (Prehistoric house building in Central Europe), which deals very closely with the building elements, prerequisites and building techniques (Luley, 1992). This book is certainly helpful for a protocol for documenting a new building, especially because it pays attention to wood and soil types. The book ends with the chapter ‘Building physics functions and possible uses’, which could serve as a basis for the preparation of a protocol for annual documentation. Although a protocol is not printed directly, it describes, for example, the measurement of humidity and temperature over a period of 3 years. Observations of substance loss and changes are also presented (Luley, 1992).
Concept for the Documentation of Houses in Open-air Museums
The documentation of houses in open-air museums should be planned carefully. The purpose of the documentation - i.e. the experimental question - should be clear and the necessary and available resources should be considered.
The concept that we present here does not claim to deliver optimal and detailed solutions for all possible cases. That would be impossible. Instead, we have developed a general framework for the documentation of houses in open-air museums that is open for modification and application in various settings. Therefore, our concept is modular and we will present a checklist for documentation that can easily be modified.
Our concept distinguishes between three phases of the documentation of houses in open-air museums (See Figure 7):
- the documentation of the construction of a house,
- the initial documentation of a house, and
- the periodic (annual) documentation of a house.
The Construction of a House
Our concept for documenting the construction of houses is inspired by the experimental “house no. 1” in the Museums Village Düppel. Experiments of this kind offer the unique opportunity to compare the remains of a house at certain stages of decay with data on the original construction. We think that such comparisons could produce useful insights for the interpretation of data collected during archaeological excavations. Our aim is to link current state-of-the-art archaeological documentation techniques - especially those that were not available 50 years ago - and core archaeological concepts with experimental archaeology and to make these techniques available for the documentation of the construction of houses.
The proposed concept for documenting the construction of houses follows two principles: It is based on the core archaeological concept stratigraphy and it is modular.
For the purpose of documenting the construction we reversed the order of documentation that is typical for archaeological excavations. Excavations proceed from younger to older, from top to bottom. The documentation of the construction of houses should proceed the other way round, from older to younger, from bottom to top. The reason for this is that the construction of a building proceeds from the bottom of a building to its top, from its foundation to its roof. And the parts of a house that were constructed earlier are very often if not most of the time hidden under or behind parts that were constructed later.
We chose the stratigraphic principle as we think that the works by E. Harris (1989, 2011) on this topic can be applied as a guideline for the documentation of a construction process. We think that the concepts positive features, negative features, and interfaces and the tool Harris matrix are ideally suited for the task of identifying, timing and structuring the several steps that are necessary to document the construction process.
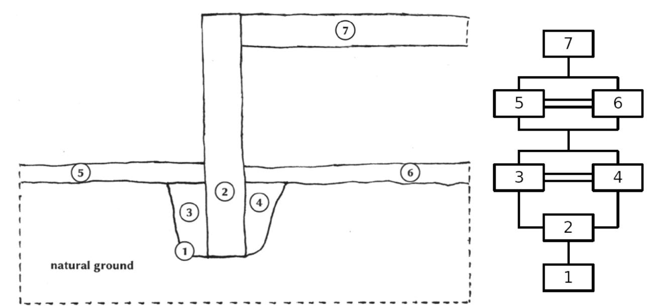
Figure 8a shows a simple stratigraphy. The units of stratigraphy are numbered from newer to older and represented in the Harris matrix in Figure 9. Let us assume that we interpret this stratigraphy as the remains of a house: a brick wall (7) with its foundation trench (8) that was filled with material (5/6); the floors of the rooms to the left and right of the wall (3/4). Furthermore, we interpret unit 2 as the trace of the demolition of the wall. And unit 1 is a layer covering the remains.
If we reverse this order (and omit stratigraphic units that are traces of later demolition and abandonment), as in Figure 8b, we get information on how the construction of the house proceeded. And this information is already inherent in the Harris matrix in Figure 9. Let us now assume that we want to build a replica of this house. The reverse order tells us how to plan our documentation of the construction, it tells us what to document and when.
Based on the stratigraphic principle and in order to structure the documentation process we distinguish between four stages of documentation.
At the first stage the building site and its environment before the beginning of the construction process are documented: the geology of the site, the vegetation, neighbouring buildings, and the history of the building site (agricultural use, earlier buildings in the same spot that were demolished etc.).
The second stage concerns the preparation of the ground that usually produces negative features, in our example a foundation trench (See Figure 10, unit 1). At this stage it is important to document not only the negative features that are produced for the new building, but as well possible traces of agricultural use, predecessor buildings and any other human activity that are not completely destroyed through the preparation of the building ground.
At stage 3 all the parts of a house that are in the ground or in direct contact to the ground should be documented. In our example, this would be a brick wall, the fills of its foundation trench and the floors (See Figure 10, units 2–6).
Finally, at stage 4, all the parts of a house should be documented that are attached to the parts that were constructed in stage 3 and that have no direct contact to the ground, in our example a wooden beam resting on the brick wall (See Figure 10, unit 7).
We made the distinction between stages 3 and 4 as materials in or on the ground face different conditions concerning their decomposition and decay.
For all four stages we recommend the following as minimal documentation:
- photos and notes,
- sketches/drawings,
- manual measuring and mapping of the building site / the parts of the house that have already been constructed (negative and positive features).
Optional modules for each stage–depending on the research question and the available resources–could be:
- measuring and mapping with, for example, a total station, CAD plans,
- collecting samples of the soil and building material,
- detailed true to scale drawings,
- 3D modelling (e. g.: structure from motion), GIS,…
The Initial and Periodic Documentation of a House
The initial and periodic documentation could apply the same or similar modules and techniques that were presented in the preceding section and that concern the documentation of the construction process.
In addition, group 2 of the 2019 seminar listed several other variables that should be recorded in the initial and periodic documentation (see above and Lehnhardt et al., 2020 pp. 29–30):
In the case of a new house, the initial documentation should be made as soon as the house and its interior are complete. It should include data on the house itself, its environment, and all mobile objects and installations inside the house, for example pieces of furniture and so on.
In the case of a new house or a house that has already existed for some time but that has never been documented the initial documentation should include additional information on the construction process (as far as possible) and on damages, traces of decay, repairs, modifications and so on.
The frequency and intensity of the periodic documentation of houses and the applied techniques of collecting data should fit the available resources. Data could be collected on:
- the use of the house (heating, cooking, working, guided tours, storing of objects etc.)
- repairs and damages,
- the weather,
- the exposure of the house to sunlight and shade,
- the temperature and humidity inside the house, and
- changes in the environment of the house.
Conclusion
The considerations made here can only be the first step towards a possible guideline for the long-term documentation of (re)constructed houses in open-air museums. The concrete design and content structure of the documentation sheets, from the building documentation to the initial recording to the annual checklist, must be discussed and negotiated across museums. The focus should be on a pragmatic approach. Cooperation with scientific institutes and the integration of citizen science according to the motto 'citizens create knowledge' should be aimed for. Further discussion of this topic is certainly worthwhile. For (experimental) archaeology and building research, the systematic documentation of decay and decomposition processes at the houses and the compilation of data could well lead to further insights and new questions.
Acknowledgements
We would like to thank all the students involved and Dr. Julia Heeb from the Düppel Museum.
Keywords
Country
- Germany
Bibliography
Carstens, J., Meiners, U. and Mohrmann, R.-E., eds., 2008. Living History im Museum. Möglichkeiten und Grenzen einer populären Vermittlungsform, Beiträge zur Volkskultur in Nordwestdeutschland. Münster: Waxmann.
Fansa, M., 1990. Experimentelle Archäologie in Deutschland. Oldenburg: Isensee.
Flamman, J.P., 2000. Documentation form reconstructions. [form] Translated by R.P. Paardekooper and L. Volmer, 2008.
Harris, E., 1989. Principles of Archaeological Stratigraphy. 2nd ed. London & New York: Academic Press.
Harris, E., 2011. Principles of Archaeological Stratigraphy. German ed. London & New York: Academic Press.
Hochbruck, W., 2013. Geschichtstheater: Formen der »Living History«. Eine Typologie. Bielefeld: transcript.
Lehnhardt, E., Bahcivanoglu, A., Hofmann, A., Kaul, L.R., Solleder, S., Ardal, M.M., Richter, M., Behrend, J., Brückner, F., Jeß, C., Michaelis, L., Müller, K., 2020. Ansätze für einen Leitfaden zur Dokumentation von Häusern in Freilichtmuseen. Düppel Journal. 2019, pp. 21–31.
Luley, H., 1992. Urgeschichtlicher Hausbau in Mitteleuropa. Grundlagenforschungen, Umweltbedingungen und bautechnische Rekonstruktionen. Universitätsforschungen zur prähistorischen Archäologie 7. Bonn: Habelt.
Schmidt, H., 1993. Wiederaufbau (Denkmalpflege an archäologischen Stätten) 2. Stuttgart: Konrad Theiss.
Schmidt, H., 2000. Archäologische Denkmäler in Deutschland - rekonstruiert und wieder aufgebaut. Stuttgart: Konrad Theiss.
Sennhauser, H., 1990. Archäologie und Denkmalpflege. Bündner Monatsblatt: Zeitschrift für Bündner Geschichte, Landeskultur und Baukultur. 1. pp.409-418.
Todtenhaupt, D., 2015: Historie der einzelnen wiederaufgebauten Häuser im Museumsdorf Düppel. Förderkreis des Museumsdorfes Düppel e. V.
